پتنت جدید اپل نشان میدهد که این کمپانی در حال کار بر روی فناوری دوربین لایت فیلد است
اخبار
حق ثبت اختراع جدید، که در سپتامبر 2019 برای نخستین بار دیده شد، جزئیاتی از یک سیستم دوربین پانوراما لایت فیلد یا پلنوپتیک را توسط اپل نشان میدهد که ظاهراً برای استفاده در دستگاههای آیفون و آیپد آینده در نظر گرفته شده است.
این فناوری به کاربران امکان میدهد با حرکت دادن دستگاهشان به شیوهای خاص، تصاویر پانورامای لایت فیلد دلخواهشان را ثبت کنند. تصویری که در نتیجهی عملکرد دوربین با این فناوری ثبت میشود را میتوان روی خود نمایشگر گوشی یا هدستهای واقعیت مجازی ( نمایشگرهای موسوم به HMD مخفف Head-Mounted Display ) مشاهده کرد.
فناوری لایت فیلد ( Light-Field ) که به نام پلِنوپتیک ( Plenoptic ) هم مشهور است، فناوری تازهای به شمار نمیآید؛ اما هنوز به صورت گسترده از آن بهره گرفته نشده است. در این فناوری، با اتکا به دوربینهایی خاص با نام دوربین لایت فیلد یا دوربین پلنوپتیک، اطلاعاتی دربارهی میدان نوری هر صحنه جمع آوری میشود. اطلاعات یاد شده شامل ثبت شدت نور در یک صحنه و همچنین مسیری است که پرتوهای نور در فضا طی میکنند. این موضوع باعث میشود دوربینهای پلنوپتیک قدرتمند از دوربینهای معمولی امروزی نظیر DSLR ها باشند؛ زیرا دوربینهای معمولی فقط میتوانند شدت نور را ثبت کنند.
نوعی از دوربینهای پلنوپتیک به مجموعهای از میکرولنز مجهز میشود که به شکلی متفاوت در رو به روی حسگر تصویر جای گرفتهاند. این میکرولنزها میتوانند شدت و رنگ و جهت حرکت پرتوهای نور را به خوبی تشخیص دهند. ناگفته نماند هولوگرام نوعی تصویر لایت فیلد مبتنی بر فیلم محسوب میشود.
لایترو یکی از شرکتهایی است که توانسته دوربینهایی لایت فیلد تولید کند. یکی از دوربینهای معروف این شرکت، یعنی Lytro Illum، با هدف ارائهی تجربهای جدید در حوزهی عکاسی تولید شده است. لایترو از تصاویر ثبت شدهی دوربین ایلیوم به عنوان ” تصاویر زنده ” یاد میکند؛ تصاویری که به دلیل همکاری حسگر و لنز دوربین با نرم افزارهای گرافیکی ویژه ثبت میشود. البته از سال 2018 این کمپانی از زیر مجموعههای گوگل به حساب میآید. مهمترین نکته دربارهی تصاویر زنده این است که میتوان با آنها تعامل برقرار کرد. از آنجا که دوربین میتواند تصاویر هر صحنه را با اطلاعاتی نظیر شدت و رنگ پرتوهای نور ثبت کند، کاربر میتواند تنظیماتی نظیر فوکوس روی جاهای مختلف را پس از ذخیره شدن تصاویر، روی آنها اعمال کند.
پیشنهاد نویسنده : نگاه به تکنولوژیهای دوربین خانواده P40 هوآوی، حاکم جدید دنیای عکاسی با موبایل !

به گزارش Patently Apple که برای اولین بار از حق ثبت اختراع استفاده کرده است، اپلیکیشنی که اپل در این باره توسعه میدهد، در راستای توسعهی بخش واقعیت مجازی این کمپانی و همچنین مخصوص مکانهای سه بعدی پر پیچ و خم خواهد بود.
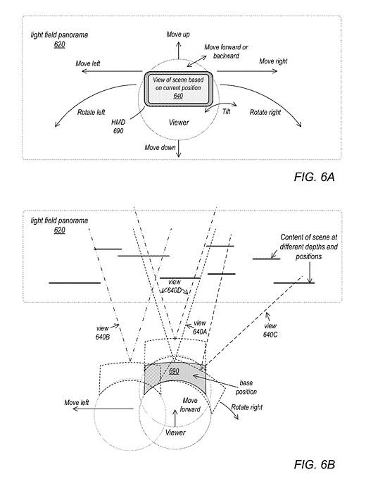
به لطف فناوری مذکور، کاربران آیفونهای اپل خواهند توانست از صحنههای مختلف تصاویری سه بعدی ثبت کنند. به منظور ثبت این نوع تصاویر، ابتدا باید گوشی را به شکلی خاص در فضا حرکت دهید؛ مثلا مسیری مانند نماد بینهایت ( ∞ ). حرکت دادن دستگاه در جهتهای مختلف باعث میشود دوربین بتواند از زوایای مختلف تصاویر لایت فیلد از صحنه را ثبت کند.

در دوربینهایی با فناوری لایت فیلد ، از نوعی موتور رند خاص استفاده میشود که با اتکا بر این فناوری، میتواند تصاویر متعددی را که توسط دوربین گوشی ثبت میشود، به نوعی پانورامای لایو یا سه بعدی با 6 درجه آزادی ( 6DOF ) تبدیل کند.
در نتیجهی این اتفاق کار قادر خواهد بود تا قسمتهای بالا، پایین یا حتی پشت اشیاء مختلف را هم مشاهده کند و یا برای دیدن جزئیات بیشتر، روی بخشهایی از تصویر زوم کند و آن را از زوایای مختلف ببیند. دقیقا به همین علت است که تصاویر لایت فیلد به تصاویر لایو یا زنده هم مشهور هستند، چرا که امکان تعامل بیشتری بین کاربر با عکس وجود دارد.
در واقع امکان انجام این کارها به دلیل ثبت دادههای دقیق از نورپردازی صحنه از طریق دوربین فراهم میشود. این حق ثبت اختراع پس از اینکه گوگل در سال 2018 کمپانی لایترو ( Lytro ) را خریداری کرده بود ثبت شده است.
پیشنهاد نویسنده : سونی سه بخش از کمپانی خود را برای بهبود شرایط ادغام خواهد کرد
بر خلاف دوربینهای معمولی، دوربینی که با این فناوری ساخته شده باشد میتواند شدتهای نور مختلف را از یک صحنه و همچنین جهت پرتوهای نور در فضا را ثبت کند. دادههای اضافی جمع آوری شده توسط سیستمهای دوربین، میتواند چیزی را ممکن سازد که اپل سعی در استفاده از آن دارد.
این اختراع نشان میدهد که سیستم جدید کمپانی اپل ممکن است از سنسورهای موجود در آیفونها و آیپدها برای ثبت موقعیت، حرکت و ابردادههای مشابه در کنار تصاویر اصلی استفاده کند، که ترکیبی از اینها به یک تصویر پانورامای میدان نور یا لایت فیلد ختم خواهد شد.
همچنین، بعدا میتوان از ترکیب تصاویر و کلان دادههای ثبت شده برای آنها به منظور رندر کردن همان تصاویر از زاویههایی دیگر به شکل سه بعدی استفاده کرد؛ موضوعی که باعث میشود 6 درجه آزادی در اختیار کاربر قرار گیرد تا او بتواند با استفاده از دستگاههایی نظیر هدستهای VR به راحتی صحنههای سه بعدی مختلف را مشاهده کند.

این موضوع از لحاظ ظاهری متفاوت با یک پانوراما 360 درجه سنتی است که از یک نقطه ثبت میشود. در واقع پانورامای عادی فقط به بیننده اجازه میدهد تا درون یک تصویر سه بعدی رندر شده از یک نقطهی ثابت حرکت کند و همه چیز را از یک زاویهی یکسان ببیند. پانوراماهای میدان نور یا لایت فیلد اما واقع بینانهتر به نظر میرسد و میتواند به جذابیت حرکت در فضای یک تصویر سه بعدی بیافزاید. در این نوع تصویر با حرکت کاربر در داخل صحنه، اشیاء در موقعیتهای اصلی خود باقی میمانند، که باعث میشود کاربرد بتواند در تمام تصویر حرکت کرده و همه چیز را از زوایای مختلف مشاهده کند.
در چند سال اخیر، اپل نشان داده است اهمیت زیادی برای فناوری واقعیت افزوده قائل بوده و قصد دارد از طریق آن، تجربهی کاربری محصولاتش را بهبود بخشد. جدیدترین نسل از تبلتهای پرچمدار این شرکت، یعنی آیپد پرو 2020، به اسکنر لیزر سه بعدی موسوم به LiDAR مجهز شده است که مزیتهای متعددی در زمینهی واقعیت افزوده به ارمغان میآورد.

ماه گذشته ( اواخر اسفند 1397 ) اپل در مراسم رونمایی از آیپد پرو 2020 دربارهی سنسور جدید LIDAR توضیحاتی را دارد و آن را انقلابی در زمینهی تشخیص عمق صحنه خواند. این حسگر میتواند به شکل ویژهای عمق را تشخیص دهد.
پیشنهاد نویسنده : ۱۰ کاری که به عنوان یک عکاس در خانه میتوانید انجام دهید !
در واقع هدف اصلی آن اسکن بسیار دقیق محیط برای بهبود تجربهی واقعیت افزوده ( AR ) در آیپدهای جدید بود. این حسگر با اندازه گیری فاصلهی اشیائی کار میکند که حداکثر 5 متر دورتر هستند.
اپل در بیانیهای توضیح داد :
سنسور عمق سنج در iPadOS، نقاط عمقی اندازه گیری شده توسط اسکنر LiDAR و دادههای مربوط به دوربین و سنسورهای حرکتی را با هم ترکیب کرده و با الگوریتمهای هوش مصنوعی در A12Z Bionic، برای درک دقیقتر یک صحنه تقویت میشود. ادغام این عناصر تجربهی کاملا جدیدی از واقعیت افزوده ( AR ) در iPad Pro را برای شما فراهم میکند.
گسترش این قابلیتها در آینده با استفاده از فناوری لایت فیلد تعجب آور نخواهد بود، به خصوص با توجه به شایعات مداومی که میگوید اپل قصد دارد روی تجهیزات پیشرفتهتری برای AR و VR کار کند. با در نظر گرفتن این گفته، و مانند هر حق ثبت اختراع دیگری، ممکن است که هرگز شاهد عرضه چنین فناوری در قالب یک محصول عمومی نباشیم، یا شاید هم به زودی آن را در یکی از محصولات اپل ببینیم. طبق معمول، اپل در مورد حق ثبت اختراع خود اظهار نظری دیگری نکرده است.
امیدوارم مقاله ” پتنت جدید اپل نشان میدهد که این کمپانی در حال کار بر روی فناوری دوربین لایت فیلد است “ برایتان مفید بوده باشد. نظرات و پیشنهادات خود را با ما در میان بگذارید. همچنین اگر پرسشی وجود داشت، آن را در بخش نظرات همین پست مطرح کنید تا پاسخ دهم. موفق باشید !




